A Shimano patent application published on February 12 describes a road pedal with a cleat-retention mechanism that can move axially along its pivot, a design that appears consistent with the prototype pedals at the centre of Mathieu van der Poel's (Alpecin-Premier Tech) Paris-Roubaix disaster earlier this month.
The filing, DE102024122847A1, does not confirm it was the exact pedal used in the race. But patent attorney Mark Aldred, who flagged the document on LinkedIn, noted that the application describes a pedal with an axially moveable cleat-securing mechanism and asked whether this could be the prototype in question.
Van der Poel punctured in the Arenberg Forest and attempted to continue on teammate Jasper Philipsen's bike. He could not clip in. Post-race analysis pointed to Philipsen's pedals being new Shimano prototypes that were not compatible with Van der Poel's cleats, turning a routine bike change into a race-ending delay.
Alpecin-Deceuninck team manager Christoph Roodhooft called the decision to run two different pedal systems on the team "very stupid." The team had reportedly been testing the prototype pedals for months before Roubaix.
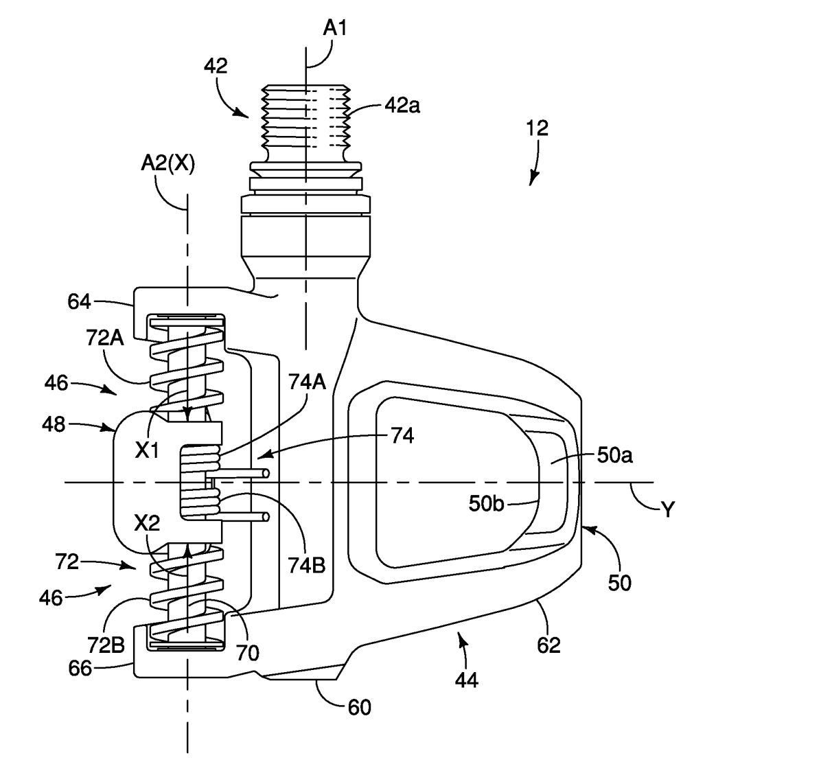
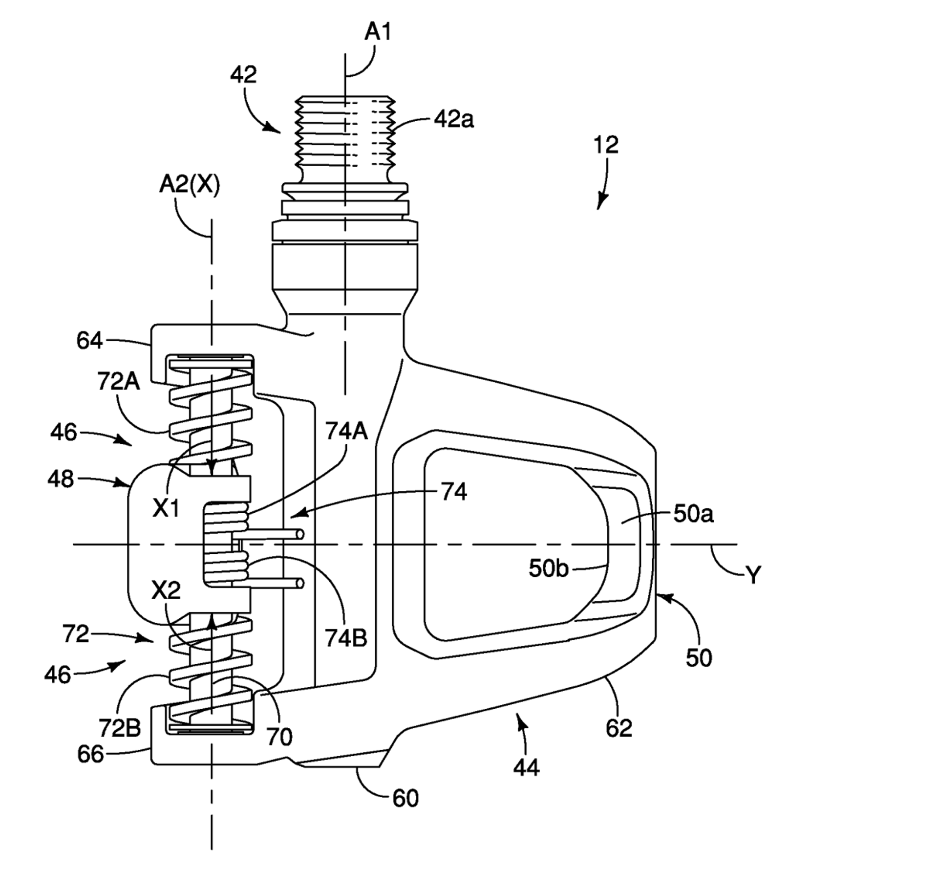
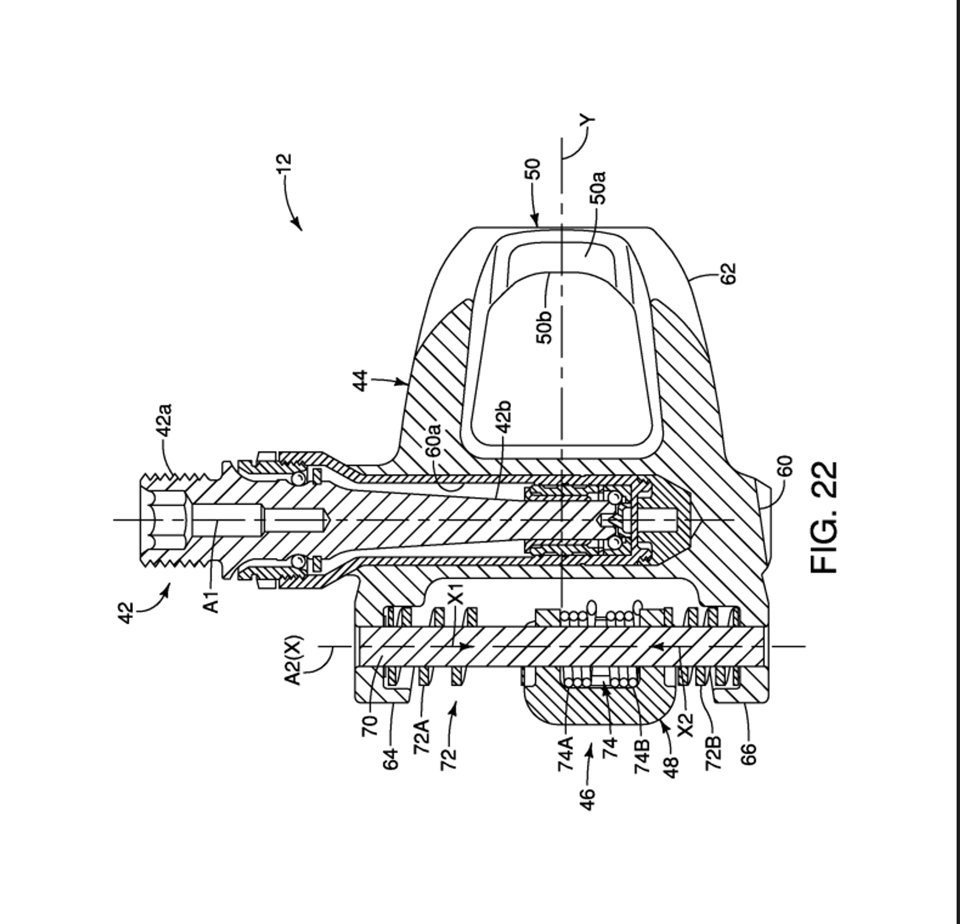
What the patent describes
The filing outlines a pedal assembly with a cleat-locking element that pivots between a retention position and a release position, mounted on a pivot axis. The locking element can also slide laterally along that axis against preload force from springs or rubber elements, then return to a neutral position.
In plain terms: the rear locking jaw of the pedal is not fixed in one lateral position. It can shift sideways when the rider's foot moves the cleat inward or outward, and that lateral displacement forms part of the release action. Shimano's patent describes preload options including coil springs, torsion springs and rubber elements, with a variant using rubber specifically noted as better suited to muddy conditions where dirt could foul a metal spring.

The patent also describes a cleat that sits partially recessed into the shoe sole, with the retention structure fitting at least partly within that recess. That would lower stack height, bringing the foot closer to the pedal axle.
These features point to a retention architecture that differs from the current SPD-SL interface. A new engagement geometry could change how a cleat locks in and releases, and that is precisely the kind of change that creates compatibility problems during a transition period.
The Roubaix incident demonstrated the cost. Prototype pedals fitted to one bike on the team were incompatible with the cleats on another rider's shoes. In a race where seconds are lost to every hesitation on the cobbles, Van der Poel walked back to retrieve his own abandoned bike, where teammate Tibor Del Grosso was swapping in his wheel before Van der Poel repositioned his chain himself.

The pedal mismatch was the most visible part of a wider logistical failure. Race organisers had reportedly restricted team staff from standing with spare wheels inside the cobbled sector, and the team car was delayed at the sector entrance. Still, those problems would have been manageable had the bike change itself worked.
The patent was filed on August 9, 2024, and published on February 12, 2026, placing Shimano's development work on this mechanism well before the April race. Shimano has not publicly confirmed details of the prototype or commented on its compatibility with existing cleats.
For now, the filing offers a technical clue about what Shimano may have been developing when things went wrong in Arenberg. Whether this exact mechanism reaches production, and how Shimano manages any cleat-interface transition across its sponsored teams, remains to be seen.
Cover image credit: Etienne Garnier






